
在紛雜的微處理器係統設計當中,處理器與(yu) 外圍電路的搭配方式是多種多樣的。但對於(yu) 處理器來講,它的啟動方式卻是一成不變的,運行過程中嚴(yan) 格、準確地重複執行函數和指令。因此,啟動電壓,時序等參數的正確與(yu) 否成為(wei) 了衡量一個(ge) 電子係統魯棒性好壞的標準之一。複位芯片就此應運而生。
複位芯片通常與(yu) 處理器、穩壓器等結合使用。它可以針對電源軌監控,以確保係統上電。與(yu) 此同時,複位芯片也可以檢測故障並與(yu) 處理器進行通信,保障係統安全運行。本文將以RS706為(wei) 例,討論帶看門狗的複位芯片在應用設計中的注意事項。
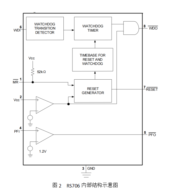
RS706概述
RS706是內(nei) 部集成電源電壓監控,上電複位,看門狗及手動複位四種功能的多功能複位芯片,參數概括如下:
l 工作電壓範圍:1.0V至5.5V
l 功耗:40µA(最大值)
l 電源電壓監控閾值:2.63V、2.93V、3.08V、4.00V
l 支持手動複位輸入
l 複位脈寬:200ms
l 獨立看門狗定時器:時鍾周期1.6秒(典型值)
l 支持PFI輸入:可作為(wei) 電源故障或電池低電量功能的監測
l 工作溫度範圍:-40℃至+85℃
l 封裝:SOIC-8


手動複位
在特定的持續時間內(nei) (大於(yu) TMR:15ns),當手動複位引腳(
)的輸入電壓低於(yu) 手動複位閾值電壓低電平(WDI Input Threshold-Low)時,
將輸出低電平。隻要
引腳持續保持低電平,複位引腳
也將持續輸出低電平。當
持續高於(yu) 手動複位閾值電壓高電平(WDI Input Threshold-Low)後,
引腳會(hui) 在1個(ge) 複位脈寬(TRS)到期後拉高。其中
引腳內(nei) 部支持去抖的功能,電氣上可兼容TTL和CMOS邏輯,既可以由外部的邏輯線路驅動也可以由短路到地的按鈕觸發。
設計注意事項:
l RS706的
複位脈寬(TRS)在100至350ms之間,設計中需要結合該時間的最小值核對處理器對複位信號脈寬的要求。
l VCC電壓上升超過複位閾值電壓或者
引腳拉高後,
引腳仍然會(hui) 保持一個(ge) 複位周期的時間。
l 需注意
的複位電平是否與(yu) 處理器的複位電平邏輯一致。
l 假如複位信號走線過長,很容易引入幹擾,從(cong) 而導致複位信號驅動能力不足,這種情況可以加入RS1G125驅動器來解決(jue) 。
電源電壓監控
VCC輸入支持精準的電壓監控,可以監控複位芯片的供電電壓是否有突變。
電源電壓監控設計注意事項:
l選型和應用中需要評估VCC的複位閾值電壓是否滿足設計需求。例如RS706-2.93YK,2.93V為(wei) 其電源監控閾值的典型值,實際中對於(yu) 不同芯片來看,該值是在2.86V至3.0V之間。設計時需要特別關(guan) 注該最大值是否可滿足需求。
手動複位和電源電壓監控的時序圖如下:

當複位芯片的電源下電(VCC下降至VRT)或者上電(VCC上升至VRT)時,
均會(hui) 發出一個(ge) 以脈寬長度為(wei) TRS的低電平信號。VCC上電穩定後,需要至少
被拉低TMR(15ns TYP)的時間,才可正常識別出手動複位信號,然後經過TMD(23ns TYP)的時間後輸出脈寬長度為(wei) TRS的低電平信。
電源故障輸入
RS706的電源故障輸入功能,是一個(ge) 參考電壓為(wei) 1.2V的電壓比較電路,因此對於(yu) RS706來說,它除了可以監控給自身供電的VCC1電壓之外,還可以監控另一路輸入電源VCC2的故障與(yu) 否。若電源故障輸入(PFI)引腳低於(yu) 電源故障電壓閾值(PFI Input Threshold),則電源故障輸出(
)降低。此外,PFI引腳還可連接到
引腳,以用於(yu) 監控器/複位IC的低電平複位信號輸出。

當PFI輸入高於(yu) 或低於(yu) 內(nei) 部比較器的參考電壓(PFI Input Threshold)的時候,經過一定的延時時間後,會(hui) 觸發
輸出對應高電平或低電平。VCC=5V的時候,時序圖如下:

PFI功能設計注意事項:
l 在設計中若不使用該功能,可將PFI接入VCC或者GND中,以防止複位芯片輸出不穩定。
看門狗定時器
RS706會(hui) 一直監控看門狗輸入(
)引腳上的信號。若RS706未在看門狗的定時器周期內(nei) 檢測到喂狗信號,則觸發
輸出。一種常見的應用電路是將
直連到
引腳上,即可通過看門狗定時器觸發
輸出。

當
與(yu)
引腳未連接時,若看門狗輸入WDI在看門狗的定時器周期(TWD)內(nei) 沒有收到脈寬信號至少在TWP(16ns min)的喂狗信號,則觸發
的低電平輸出,該
的低電平保持至下次WDI脈衝(chong) 信號到來。
當
與(yu)
引腳連接時,若看門狗輸入WDI在看門狗的定時器周期(TWD)內(nei) 沒有收到脈寬信號至少在TWP(16ns min)的喂狗信號,則觸發
的低電平輸出。該
低電平的持續時間很短。這是因為(wei) 當看門狗超時後,
輸出低電平至
時,會(hui) 立即使
引腳輸出低電平,而
引腳的低電平會(hui) 清零看門狗定時器標誌位,
的優(you) 先級要高於(yu) 看門狗。
兩(liang) 種連接狀態下的波形圖如下:

圖8 RS706看門狗信號時序圖
看門狗設計注意事項:
l 喂狗的時機:WDI輸入保持高電平或者低電平超出定時器的周期TWD,則內(nei) 部看門狗超時,
輸出低電平,注意1.6s給出的是典型值,實際上RS706的該時間範圍是在1.0s至2.9s之間
l 如何喂狗:在看門狗的溢出周期之內(nei) ,WDI引腳電平發生變化即可認為(wei) 成功實現了喂狗操作,計數器將清零需要注意TWP這個(ge) 參數,對於(yu) RS706來講,TWP要求至少在16ns以上。
l WDI走線不宜過長並遠離幹擾源,以防止喂狗信號受幹擾。
l 看門狗的禁用:可以將WDI引腳浮空或者連接到高阻抗狀態的三態緩衝(chong) 器上,從(cong) 而禁用看門狗功能。
其他注意事項:
l 在複位芯片的設計中需要注意管腳的結構屬性,包括開漏和推挽兩(liang) 種,在實際設計中需要根據處理器複位管腳的屬性來選擇。


2022-06-15


